
1.精度
Q450專用數學運算模型,重復精度±12.5微米 (±0.0005") @6 σ,Cp ≥ 2.0。
2.專用調整平臺
Q450專用高剛性UVW模組驅動機構及倒三角Z軸升降機構有效提高平臺調校穩定性,在微動調整下實現超細的傳動,使機器符合更高精度要求的印刷。結構簡單可靠、調節方便,可以快速實現不同厚度PCB板的PIN針頂升高度的自動調節。
3.可編程的懸浮自調整步進馬達驅動印刷頭
獨立直聯式步進馬達控制,內置精確壓力控制系統,能精確的測定刮刀原始壓力值,無需顧及刮刀片類型,長度,重量或者厚度的變化.可編程實現印刷工藝靈活多變;針對于前后刮刀壓力所需不同及升降的穩定性而設計,防止錫膏外泄及刀片具有一定彈性的裝夾設計,刮刀的壓力,升降速度,印刷速度,印刷范圍均軟件可調,且為客戶提供了多種脫模方式來適應不同下錫要求的PCB板,為客戶提供了一個良好的印刷控制平臺。
4.印刷機的PCB定位系統
平皮帶帶傳動,有效提升導軌運力,運速; 步進馬達驅動,可編程實現不同的運輸速度及動作;新概念導軌,無縫傳輸確保PCB運輸的可靠性;自適應PCB板厚度,制程更簡便;軟件可調壓力彈性側壓,可配底部整體吸腔式真空,及底部多點局部真空。
5.清洗系統
自動清洗結構;大功率風機加文丘里真空發生裝置抽真空;干﹑濕﹑真空三種清洗方式,并可任意選擇自由組合,用戶可根據實際需求設定清洗周期 ﹑時間及速度等參數;長短擦拭紙通用,拆卸方便,節約資源;柔軟耐磨橡膠擦拭板,清洗徹底,拆卸方便。
6.高適應性鋼網框裝夾系統
實現各種尺寸(370mm x 470mm~737 mm x 737 mm)的網框的印刷,并可實現在生產過程中的快速更換機型;Y向自動定位。
7.電控系統
采用自主研發的模塊化集成電路,安全、便于維修;采用業界最先進的工控系統,可實現機器在運動過程中修改參數。
8.圖像及光路系統
全新的光路系統--均勻的環形光和高亮度的同軸光,配以無極調節亮度的功能,使得各類型的Mark點均 可很好的識別(包括凹凸不平的Mark點),適應鍍錫,鍍銅,鍍金,噴錫,FPC等各類型不同顏色的PCB。 四路光源可調,遠心鏡頭,上下同照鋼網和PCB板。
9.簡單易用的圖形化中/英文操作界面
采用windows XP操作系統,獨立研發的圖形化人機界面:尤其在做程序文件的導航效果,方便所有操作人員快速熟悉操作;菜單式中/英文切換,操作日志,故障記錄/故障自診斷/故障分析提示/光報警等功能,使得操作簡單,方便。
10.2D錫膏印刷質量檢查和SPC分析
2D功能對偏移,少錫,漏印,連錫等印刷不良問題能快速檢測,檢測點位任意增加;SPC軟件能通過機器采集的樣本分析機器CPK指數,確保印刷品質。
技術參數 Technical parameters
PCB參數 PCB boarding handling paramete | |
最大板尺寸 (X x Y) Max. board size(X x Y) | 450mm x 350mm |
| 最小板尺寸 (Y x X) Min. board size(X x Y) | 50mm x 50mm |
| PCB厚度 PCB thickness range | 0.4mm~6mm |
| 翹曲量 PCB Warpage | ≤對角線1% ≤1%Diagonal |
| 最大板重量 Max. board weight | 3Kg |
| 板邊緣間隙 PCB edge clearance | 構形至 3 mm Configuration to 3mm |
| 最大底部間隙 PCB bottom clearance | 20mm |
| 傳送速度 Conveyor speed(Max.) | 1500mm/s(Max) |
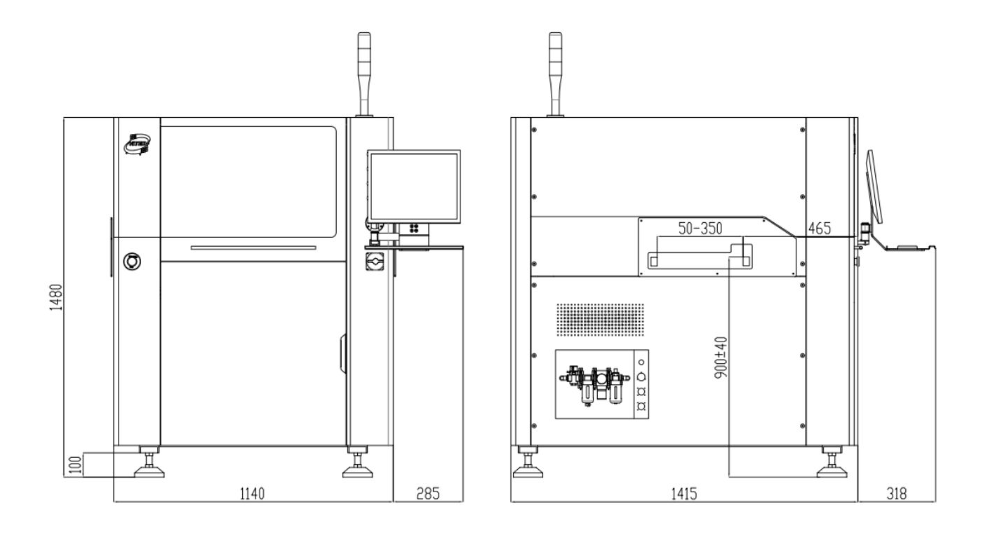
| 距地面的傳送高度 Conveyor height | 900±40mm |
| 傳送軌道方向 Conveyor direction | 左 – 右、右 – 左、左 – 左、右 – 右 L-R,R-L,L-L,R-R |
| 傳輸方式 Transfer mode | 一段式軌道 One stage orbit |
| PCB夾持方法 PCB clamping method | 可編程彈性側夾+自動調節板厚(選項:1、邊緣鎖定基板壓緊;2、底部多點局部真空;3、底部整體吸腔式真空) Programmable elastic side clamp + Automatic adjustment plate thickness+ (Options: 1.Edge locking base plate pressing; 2. Multi point local vacuum at the bottom;3. Integral cavity vacuum at the bottom) |
| 板支撐方法 Support method | 磁性頂針+等高塊(選項:1、真空腔體;2、專用的工件夾具) Magnetic thimble + Equal high block.(Optional:1.vacuum suctioncavity; 2.special workpiece fixture) |
| 印刷參數 Printing parameters | |
| 印刷頭 Print head | 懸浮式智能印刷頭(兩個獨立的直聯馬達) Floating intelligent printing head ( two independent direct connected motors) |
| 模板框架尺寸 Stencil frame size | 470mm x 370mm~737 mm x 737 mm |
| 最大印刷區域 (X x Y) Max. printing area(X x Y) | 450mm x 350mm |
| 刮刀類型 Squeegee Material/Angle | 鋼刮刀/膠刮刀(角度45°/55°/60°按印刷工藝匹配選擇) Steel squeegee/Rubber squeegee(Angle 45°/50°/60° matching the printing process) |
| 刮刀長度 Squeegee length | 300mm(可選配200mm~500mm長度) (optional with length of 200mm-500mm) |
| 刮刀高度 Squeegee height | 65±1mm |
| 刮刀片厚度 Squeegee thickness | 0.25mm Diamond-like carbon涂層 0.25mm Diamond-like carboncoating |
| 印刷模式 Print mode | 單或雙刮刀印刷 Single or double squeegeeprinting |
| 脫模長度 PCB Sp | 0.02 mm - 12 mm |
| 印刷速度 Print speed | 0 ~ 200 mm/s |
| 印刷壓力 Print pressure | 0.5kg - 10Kg |
| 印刷行程 Print stroke | ±200 mm(從中心) (From the center) |
| 清洗參數 Cleaning parameters | |
| 清洗方式 Cleaning system | 1、滴淋式清洗系統;2、干、濕、真空三種模式 1,Drip cleaning system;2,Dry,wet,vacuummodes |
| 清洗擦拭板長度 Length of cleaning and wiping board | 380mm(可選配300mm,450mm,500mm) ( optional with 300mm, 450mm, 500mm) |
| 影像參數 Optical System | |
| 影像視域 (FOV) Field of view | 8mm x 6mm |
| 平臺調整范圍 Printing table adjustment range | X:±5.0mm,Y:±7.0mm,θ:±2.0° |
| 基準點類型 Fiducial Types | 標準形狀基準點 (見SMEMA 標準),焊盤 /開孔 Standard Fiducial type( Circle, triangle, square, diamond, cross)(SMEMA standard),solder pad/openings |
| 攝像機系 Vision methodology | 單獨照相機 , 向上 / 向下單獨成像視覺系統,幾何匹配定位 Independent camera,upwards/downwardsimaging vision system,geometric matching location |
| 性能參數 Performanceparameters | |
| 重復定位精度 Machine Alignment repeatability | ±10.0μm @6 σ,Cpk ≥ 2.0 |
| 印刷精度 Full process repeatability | ±20.0μm @6 σ,Cpk ≥ 2.0 |
| 循環時間 Core Cycle time | <7s(不包含印刷及清洗)(Exclude printing and cleaning) |
| 換線時間 Product changeover time | <5min |
| 設備 Equipment | |
| 功率要求 Power supply | AC220V±10%,50/60HZ,15A |
| 壓縮空氣要求 Air supply | 4~6Kg/cm2 |
| 操作系統 Operating system (OS) | Win7 |
| 外觀尺寸 External dimension | 1140mm(L) x 1415mm(W) x 1480mm(H) (不含三色燈,顯示器和鍵盤)(Without light,monitor and keyboard) |
| 機器重量 Machine weight | 約1000Kg Appro.1000Kg |
標準配置 Standard Configuration
n 精確的光學定位系統 Accurate optical positioning system
? 四路光源可調,光源強度可調,光照均勻,采集圖像更趨完美;可很好的識別(包括凹凸不平的Mark點),適應鍍錫,鍍銅,鍍金,噴錫,FPC等各類型不同顏色的PCB。 Adjustablefour light sources, light intensi ty is adjustable, lightisuniform, and imageacquisition is more perfect; Good identification (including uneven mark points), apply for tinning,copper plating, Gold plating, tin spraying, FPC and other types of PCB with different colors. n 高效率高適應性鋼網清洗系統 High efficiency and high adaptability stencil cleaning system
? 新型的擦拭系統保證和鋼網的充分接觸; 干、濕、真空三種清洗方式,并可任意選擇自由組合;柔軟耐磨橡膠擦拭板,清洗徹底,拆卸方便,擦拭紙長短通用。 The new wiping system ensures full contact with the stencil ; three cleaning methods of dry, wet and vacuum, and free combination can be selected;soft wear-resistant rubber wiping plate,thorough cleaning,convenient disassembly, and universal length of wiping paper. n 簡潔可靠的PCB定位系統 Simpleand reliable PCB positioning system
? 可編程彈性側夾和磁性支撐裝置。 Programmableelastic sideclamp and magnetic supporting device. | n 智能刮刀系統 Intelligent squeegee system
? 智能可編程設置,兩個獨立直聯馬達驅動的刮刀,內置精確壓力控制系統。 Intelligent programmable setting,twoindependent direct motors driven squeegee, built-in precise pressure control system. n 專用PCB厚度自適應系統 Special PCB thickness adaptive system
? 平臺高度根據PCB板厚設定自動校準,智能快速,結構簡單可靠。 The platform height is automatically calibratedaccording to PCB thickness setting,which is intelligent,fast, simple and reliablein structure. n 2D錫膏印刷質量檢查和SPC分析 2D solder paste printing quality inspection and SPC analysis
? 2D功能對偏移,少錫,漏印,連錫等印刷不良問題能快速檢測,檢測點位任意增加;SPC軟件能通過機器采集的樣本分析機器CPK指數,確保印刷品質。 2D function for offset, less tin, leakage,tin connection and other printing problemscan be quickly detected,the detection point arbitrary increase;The SPC software can analyzethe samplescollected by the machineCPK index ensures printing quality. |
選項配置 Options Configuration
n 自動加錫功能 Automatic solder paste filling function
? 定時定點自動加錫膏,保證錫膏品質及鋼網中錫膏量。從而保證客戶能夠進行質量穩定且長時間連續印刷,提高生產率。 Regular and fixed point automatic addition of solder paste, to ensure the quality of solder paste and the amount of solder paste in the stencil. In order to ensure that the customer can carry out the quality of stableand continuous printing for a long time, improve productivity. n 刮刀壓力閉環反饋控制 Squeegee pressure close-loop feedback control
? 內置精確數字壓力傳感器控制系統,通過刮刀壓力反饋系統,能精確地顯示刮刀原始壓力值, 智能調整刮刀下壓深度,確保印刷過程中壓力值的恒定并獲得最高工藝控制,實現高密度細間距器件完美印刷。 Built in precise digital pressuresensor control system, through the squeegee pressure feedback system, it can accurately display the original pressure value of the squeegee, intelligently adjust the depth of the squeegee pressure, ensure the constant pressure value in the printing processand obtain the highest process control, and realize the perfect printing of high-density and fine spacing devices. n 鋼網堵孔檢測功能 Detection function of stencil plugging
? 通過在鋼網上方進行光源補償,使用CCD對鋼網的網孔進行實時檢查,從而快速檢測并判斷出鋼網清洗后是否堵孔,并進行自動清洗,是對PCB板的2D檢測的一種補充。 By compensating thelight source above the stencil, CCD is used to check the mesh in real time, so as to quickly detect and judge whether the stencil is blocked after cleaning, and carry out automatic cleaning,which is a supplement to the 2D detection of PCB. | n 自動點膠功能 Automatic dispensing function
? 針對不同印刷工藝要求,可在印刷完后,對PCB板進行準確的點膠,點錫,畫線,填充等功能操作。 According to different printing process requirements,PCBcan be accurately dispensing,tin, line drawing,filling and other functional operationsafter printing. n 鋼網錫膏余量檢測功能 Detection function of solder paste margin of stencil
? 實時檢測鋼網上的錫膏的余量(厚度),智能化提示加錫 Real time detection of solder paste margin (thickness) on stencil, intelligent prompt for tin filling. n 磁性刮刀 Magnetic squeegee
? 磁性吸附刮刀片,取代螺孔定位方式,更換方便快捷。 Magnetic adsorption squeegeeblade,instead of screw hole positioning mode, convenient and quick replacement. n 溫濕度控制功能 Temperature and humidity control function
? 對印刷機內部溫濕度自動調節與監管,確保印料穩定的物理特性。 2D function for offset, less tin, leakage,tin connection and other printing problemscan be quickly detected,the detection point arbitrary increase;The SPC software can analyzethe samplescollected by the machineCPK index ensures printing quality. |
選項配置 Options Configuration
n 真空吸板功能 Vacuum suction plate function
? 可自動夾持各種尺寸和厚度的PCB板,有效地克服板的變形,確保印刷下錫均勻。 It can automatically clamp PCB of various sizes and thicknesses to effectively overcome the deformation of the board,Makesure that the tin is evenly printed. n SPI聯機 HSPI online ? 與SPI聯機形成閉環系統,當收到SPI印刷不良的反饋信息后,機器會自動根據SPI反饋偏移量自動進行調整,XY方向偏移可在3PC內自動調整完成,并清洗鋼網,提高印刷品質與生產效率,構成完整的印刷反饋系統。 A closed-loop system is formed by connecting with SPI. After receiving feedback information of defective SPI printing,the machine will automatically adjust the offset according to SPI feedback.The XY offset can be adjusted automatically within 3PC. and clean the stencil, improve the printing quality and production efficiency,constitute a complete printing feedback system. | n 支持MES系統無縫對接 Support MES system seamless docking
? 可以掃描客戶PCB板上的一維碼或者二維碼,并將相關信息記錄下來,可以共享給客戶MES系統使用。MES系統利用二維碼、一維碼、移動物聯等技術,對SMT生產過程中的倉庫備料防呆、來料領料管理、上料防錯、生產排期、質量追溯和看板管控等進行科學管理。通過優化過程來提高生產效率、提高產品品質、縮短生產周期、降低制造成本、全面防錯防呆,實現全面科學的可追溯管理,助力企業快速響應市場變化,提升核心競爭力。 It can scan the 1D code 2D code on the customer PCB and record the relevant information,which can be shared with the customer MES system. MES system uses 2D code, 1D code, mobileIOT and other technologies to conduct scientific management on the warehouse material preparation and prevention,incoming material picking management,material loading and error prevention, production scheduling,quality traceability,Kanban control,etc. in the SMT production process. Through the optimization processto improve the production efficiency, improveproduct quality,shorten the production cycle,reduce the manufacturing cost, to achieve a comprehensiveand scientific traceability management,to help enterprisesquickly respond to market changes,improve the core competitiveness. |
產品尺寸圖 Product size

